
中国粉体网讯 反向式丝杠副凭借长螺母短丝杠的特殊结构,具备结构紧凑轻量化、高刚性及传动效率稳定的核心优势,是人形机器人直线关节的重要传动部件,承担着“机械肢”精准位移与动力传递的关键功能,直接影响机器人关节的运动精度、响应速度,以及整体肢体动作的柔顺性与协调性。
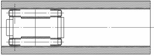
反向式丝杠副 来源:《人形机器人用反向式丝杠副现状及发展趋势》(蔡灏楠)
反向式丝杠副是一种可将旋转运动转化为直线运动的机械传动装置,与标准丝杠相比,其核心优势在于长螺母结构设计,通过螺母旋转驱动丝杠做直线运动,不仅便于集成伺服电动机,还能显著优化直线执行器的安装空间。凭借这一特性,反向式丝杠副被广泛应用于航空航天、军工装备、机器人、机床及医疗器械等高端制造领域,是精密传动系统中的关键组件。
在技术发展层面,反向式丝杠副的国内外进程呈现差异化特征。国外起步较早,技术体系成熟,产品在精度、承载能力、动态特性及可靠性方面表现优异,广泛应用于航空航天、半导体等高端装备领域。国内近两年来发展迅猛,已实现多项技术突破,产品精度可达P3级,传动效率超80%,同时攻克了大长径比螺纹磨削的核心工艺难题,产品使用寿命显著提升。
伴随人形机器人市场的爆发式增长,直线关节需求持续扩容,国内对反向式丝杠副的性能要求也同步提高。在此背景下,加强反向式丝杠副的技术研究、改良现有生产工艺、提升产品核心竞争力,成为行业发展的必然趋势。目前,针对滚珠和滚柱两种结构类型的反向式丝杠副,优化齿廓设计、提升承载能力与传动效率,是满足人形机器人直线关节及其他直线作动器高性能需求的关键路径。
反向式行星滚柱丝杠副
反向式行星滚柱丝杠副由瑞典人STRANDGREN于1966年首次提出,确立了该类产品的基本结构框架。该产品通过螺母旋转驱动丝杠直线运动,可直接与伺服电动机集成,形成紧凑、高效的高动态驱动方案,这也是其在人形机器人关节驱动中备受青睐的核心原因。
反向式行星滚柱丝杠副与标准行星滚柱丝杠副结构相似,均包含丝杠、螺母、滚柱及弹性挡圈,核心差异在于反向式产品的丝杠上设有齿轮,其功能等同于标准产品的内齿圈。两者工作原理相近,均通过滚柱的公转与自转实现运动转换。反向式产品以螺母为主动件,通过螺纹啮合将旋转运动转化为丝杠的直线运动,齿轮连接可保障滚柱运动同步及系统循环稳定,该构型目前被多数厂家采用。
反向式行星滚柱丝杠副 来源:Wu.A review of planetary roller screw mechanism for development and new trends
针对传统产品齿轮加工难度高、精度保持性差、运行摩擦磨损严重等问题,行业内不断涌现新结构。江苏润孚动力取消了丝杠齿轮/环槽及滚柱齿轮/环槽结构,结合行星架组件的双重配合机制,突破复合结构加工瓶颈,在保障滚柱轴向平行度与恒导程特性的同时,显著降低振动与噪音,实现产品的高精度、规模化量产。
无齿反式行星滚柱丝杠副 来源:润孚动力
针对人形机器人灵巧手的微型传动需求,四川航天烽火伺服控制技术有限公司设计了反向差动式行星滚柱丝杠副,采用两段不同功能的螺纹,分别实现承载与运动稳定控制,在紧凑空间内实现极高定位精度、分辨率及大推力输出。
反向差动式行星滚柱丝杠副 来源:四川航天烽火伺服控制技术有限公司
反向式滚珠丝杠副
反向式滚珠丝杠副由丝杠、螺母、反向器及滚珠构成,属于内循环式滚珠丝杠,其核心特点为螺母旋转、丝杠移动,反向器安装于丝杠之上。该产品通过滚珠承载并减小运动摩擦,传动效率较反向式行星滚柱丝杠副高出约10%,但目前采用该结构的直线关节产品较少,核心原因是反向器安装于丝杠之上,导致设计与加工难度大幅提升。
为突破这一局限,行业持续探索结构创新,连云港斯克斯机器人科技有限公司设计的一体式反向滚珠丝杠副便是典型代表。该产品在丝杠相邻外螺旋滚道间设置中心凹陷的回珠通道,与外螺旋滚道构成一体式循环滚道,使丝杠副结构更紧凑、运行更顺畅,同时提升了滚珠丝杠与螺母的配合一致性,增强了产品可靠性与运行平稳性,降低了高速运转时的噪声与振动。此外,插片式反向滚珠丝杠通过简化结构,降低了生产成本与加工难度,但因丝杠轴需预留反向器安装空间,导致产品刚度与强度大幅下降,适用场景受限。
一体式反向滚珠丝杠副 来源:斯克斯机器人科技有限公司
综上,反向式丝杠副作为高端精密传动领域的核心部件,尤其是人形机器人产业爆发背景下的关键支撑组件,其技术迭代与工艺升级直接影响下游高端装备的性能突破。当前,国内企业通过结构创新与工艺攻坚,逐步缩小与国外先进水平的差距,但在极端工况适应性、长期可靠性及高端规模化量产能力方面仍有提升空间。未来,随着多学科技术的融合应用,反向式丝杠副将朝着更精密、高效、轻量化、长寿命的方向演进;同时,滚柱与滚珠结构的差异化优化、无齿化与集成化设计的深化,将进一步拓展其在人形机器人、航空航天等高端领域的应用边界,为我国高端制造业的自主可控提供重要支撑。
参考来源:
各企业官网
蔡灏楠.人形机器人用反向式丝杠副现状及发展趋势
Wu.A review of planetary roller screw mechanism for development and new trends
(中国粉体网编辑整理/月明)
注:图片非商业用途,存在侵权告知删除!